
聯系我們
INA RMWE09A-RB/129x../30

- 型號:
- RMWE09A-RB/129x../30
- 品牌:
- INA
- 系列:
- RMWE
- 起訂量:
- ≥ 1套
- 物流:
- 全國配送

- 電話:

恩梯必專業銷售INA RMWE09A-RB/129x../30,能為客戶提供各種技術服務,軸承選型及型號替代等解決方案,需要RMWE09A-RB/129x../30最新規格、圖紙、報價等資料可聯系我司銷售部!
- 說明
- K2
- M3
- 根據 DIN 912-12.9 的螺釘; 最大鎖緊力矩:2,2 Nm 根據 DIN 912-12.9 的螺釘,耐腐蝕設計; 最大鎖緊力矩:1 Nm 注意:不銹鋼仍可進行表面防腐處理,以及不同形式的局部處理。如果耐腐蝕程度要求較高,則必須提供針對特殊應用的合適單元。
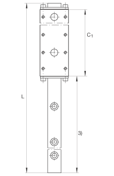
- 尺寸
- L
- 標準導軌長度: L = 59 mm,m S = 21 g L = 99 mm,m S = 36 g L = 159 mm,m S = 58 g L = 199 mm,m S = 72 g L = 219 mm,m S = 80 g L = 299 mm,m S = 108 g 通過協商,也提供特殊長度。
- Lk
- 112.9
- mm
- 保持架的長度。 通過協商,也提供特殊長度。
- Lmax
- 360
- mm
- 導軌的最大生產長度。 通過協商,也提供特殊長度。
- 重量
- mW
- 98
- g
- 滑塊的質量
- mS
- 導軌的質量: L = 59 mm,m S = 21 g L = 99 mm,m S = 36 g L = 159 mm,m S = 58 g L = 199 mm,m S = 72 g L = 219 mm,m S = 80 g L = 299 mm,m S = 108 g 通過協商,也提供特殊長度。
- 基本額定載荷
- C
- 8800
- N
- 基本額定載荷
- C0
- 18700
- N
- 基本額定載荷
- 額定扭矩
- M0x
- 72
- Nm
- 額定扭矩
- M0y
- 361
- Nm
- 額定扭矩
- M0z
- 361
- Nm
- 額定扭矩
- 說明
- 注意:不銹鋼仍可進行表面防腐處理,以及不同形式的局部處理。 如果耐腐蝕程度較高,必須提供針對特殊應用的合適單元。
- 尺寸
- C1
- 129
- mm
- hx
- 30
- mm
- 行程
- H
- 10
- mm
- 說明
- 1)
- 定位面
- 2)
- 標記
- 3)
- 行程
- 尺寸
- A
- 20
- mm
- A1
- 5.5
- mm
- A2
- 15
- mm
- a
- 9
- mm
- 公差: -0,005 / -0,05
- a3
- 2.5
- mm
- C1 max
- 300
- mm
- 滑塊的最大生產長度
- C2
- 10
- mm
- C4
- 20
- mm
- C5
- 9.5
- mm
- C6
- 9.5
- mm
- C7
- 4.5
- mm
- C8
- 3.5
- mm
- C9
- 20
- mm
- H1
- 1.95
- mm
- H5
- 3
- mm
- h
- 6.2
- mm
- h1
- 2.6
- mm
- 說明
- K1
- M3
- 根據 DIN 912-12.9 的螺釘; 最大鎖緊力矩:2,2 Nm 根據 DIN 912-12.9 的螺釘,耐腐蝕設計; 最大鎖緊力矩:1 Nm 注意:不銹鋼仍可進行表面防腐處理,以及不同形式的局部處理。如果耐腐蝕程度要求較高,則必須提供針對特殊應用的合適單元。
相關型號推薦:
23960-B-K-MB+AH3960G
23964-K-MB+AH3964G
23972-K-MB+AH3972G
23976-K-MB+AH3976G
23980-B-K-MB+AH3980G
23984-K-MB+AH3984G
23988-K-MB+AH3988
23992-B-K-MB+AH3992
23996-B-K-MB+AH3996
239/500-K-MB+AH39/500
239/530-K-MB+AH39/530
239/560-B-K-MB+AH39/560
239/600-B-K-MB+AH39/600
239/630-B-K-MB+AH39/630
239/670-B-K-MB+AH39/670
熱門型號排行榜: INA NKI6/12TN INA NKI6/16TN
熱門型號排行榜: INA NKI6/12TN INA NKI6/16TN
FAG軸承型號搜索
FAG-INA軸承產品中心
產品中心
產品搜索
類別目錄
四川恩梯必有限公司 版權所有





