
聯系我們
INA 52X12

- 型號:
- 52X12
- 品牌:
- INA
- 系列:
- 5
- 內徑:
- 133.375 mm
- 外徑:
- 181.23 mm
- 厚度:
- 37.72 mm
- 起訂量:
- ≥ 1套
- 物流:
- 全國配送

- 電話:

恩梯必專業銷售INA 52X12,能為客戶提供各種技術服務,軸承選型及型號替代等解決方案,需要52X12最新規格、圖紙、報價等資料可聯系我司銷售部!
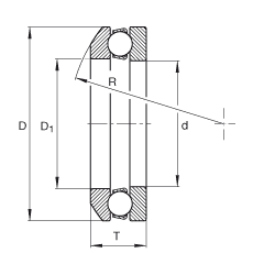
- 尺寸
- R
- 217.5
- mm
- 重量
- m
- 2774
- g
- 質量
- 基本額定載荷
- Ca
- 128000
- N
- 基本額定動載荷,軸向
- 尺寸
- D1
- 137.058
- mm
- d
- 133.375
- mm
- D
- 181.23
- mm
- T
- 37.72
- mm
- 基本額定載荷
- C0a
- 405000
- N
- 基本額定靜載荷,軸向
- 極限轉速
- nG
- 1300
- r/min
- 極限轉速
FAG軸承型號搜索
FAG-INA軸承產品中心
產品中心
產品搜索
類別目錄
四川恩梯必有限公司 版權所有


